Montage der Abzugshaube
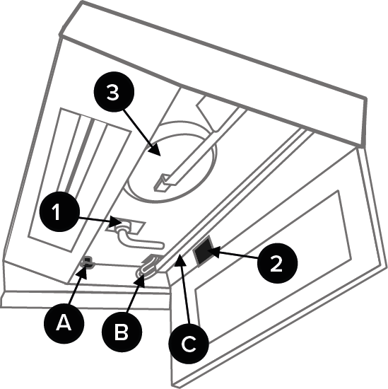
Teile der Abzugshaube
- 1
- Kondenswasserablauf
- 2
- Austrittsöffnung für den Kondenswasserablauf
- 3
- Klappe
- A
- Rändelmuttern
- B
- Anschlusskabel
- C
- Leitungsschutz
Die Abzugshaube wird mit mitgelieferten Rändelmuttern (A) am Boden des Lüftungsgeräts montiert.
- Öffnen Sie die Bodenplatte der Abzugshaube, auf der der Fettfilter befestigt ist.
- Heben Sie die Abzugshaube gegen den Boden des Lüftungsgeräts an. Schieben Sie gleichzeitig das Verbindungskabel (B) in die Abzugshaube.
- Befestigen Sie die Haube mit Rändelmuttern.
- Ziehen Sie das Verbindungskabel an die richtige Stelle. Verwenden Sie bei Bedarf Leitungsschutz (C).
