Luftströme des Lüftungsgeräts messen und einstellen
Zusammen mit dem Gerät werden vier (4) Messstutzen mitgeliefert. Diese können für die Einregulierung in die Luftkanäle installiert werden.
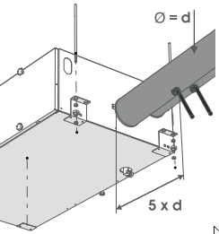
Zusammen mit dem Gerät werden vier (4) Messstutzen mitgeliefert. Diese können für die Einregulierung in die Luftkanäle installiert werden.