Liesikuvun asennus
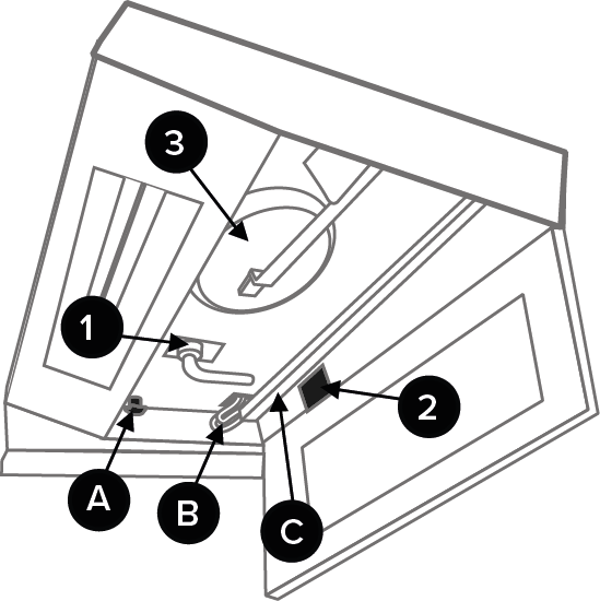
Huomaa kuvassa:
- 1
- Kondenssivesiyhde
- 2
- Kondenssivesijohdon ulosmenoaukko
- 3
- Sulkupelti
Liesikupu asennetaan ilmanvaihtokoneen pohjaan sormimuttereilla (A), jotka löytyvät koneen mukana tulevasta tarvikepussista.
- Avaa liesikuvun alalevy, johon rasvasuodatin on kiinnitetty.
- Nosta liesikupu ilmanvaihtokoneen pohjaa vasten. Pujota samalla liitäntäjohto (B) liesikuvun sisään.
- Kiinnitä liesikupu sormimuttereilla.
- Vedä liitäntäjohto paikalleen. Käytä tarvittaessa johtosuojaa (C).
