Measuring and adjusting the air flows of the ventilation unit
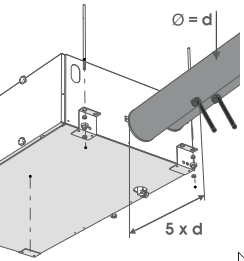
The accessories delivered with the unit include four (4) air flow measuring tubes. These can be inserted in the ducts to allow for easier ventilation adjustment.


The accessories delivered with the unit include four (4) air flow measuring tubes. These can be inserted in the ducts to allow for easier ventilation adjustment.

