Installing the cooker hood

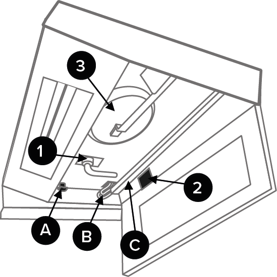
Observe in the figure:
- 1
- Condensing water outlet
- 2
- Exit hole for the condensing water outlet
- 3
- Damper
The cooker hood is installed on the bottom of the ventilation unit with finger nuts (A), which are included in the accessory bag.
- Open the bottom plate of the cooker hood, on which the grease filter is mounted.
- Lift the cooker hood against the bottom of the ventilation unit. Feed the connection cord (B) at the same time inside the cooker hood.
- Fasten the cooker hood in place with finger nuts.
- Pull the connection cord in place. Use line protection (C) where required.
