Montering i taket
Vallox-ventilationsaggregatet ska monteras på ett ställe där temperaturen inte sjunker under +10°C. Då aggregatet monteras utan inkapsling ska det placeras på ett ställe där aggregatets ljud inte är störande (förråd, teknisk rum, nedsänkt tak osv.)
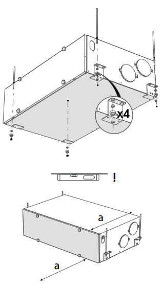
Vallox TSK Multi 80 MV monteras i taket. Ventilationsaggregatet ska monteras i taket med fästkrokarna som följer med aggregatet (4 st). Beakta aggregatets vikt (58.5 kg) när du monterar det.

VIKTIGT:
Aggregatet ska monteras vågrätt så att kondensvattnet kan rinna ut fritt från bottenbassängen genom avloppshålet.
OBS:
Lämna utrymme framför aggregatet motsvarande
aggregatets djup så att det är möjligt att utföra service.
Framför Vallox TSK Multi 80 MV krävs det minst 600 mm fritt utrymme för service.
OBS:
Uteluftskanalen till aggregatet och avluftskanalen
ut ska isoleras i hela sin längd med cellplastisolering.
