Pomiar i regulacja przepływów powietrza w urządzeniu wentylacyjnym
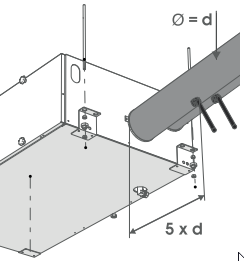
Akcesoria dołączone do urządzenia zawierają cztery (4) rury do pomiaru przepływu powietrza. Mogą zostać one włożone do kanałów wentylacyjnych w celu ułatwienia regulacji wentylacji.


Akcesoria dołączone do urządzenia zawierają cztery (4) rury do pomiaru przepływu powietrza. Mogą zostać one włożone do kanałów wentylacyjnych w celu ułatwienia regulacji wentylacji.

