Vėdinimo įrenginio oro srautų matavimas ir reguliavimas
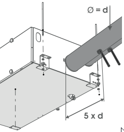
Kartu su įrenginiu pateikiami keturi (4) oro srauto matavimo vamzdeliai. Jie gali būti įstatyti į ortakius, kad palengvintų vėdinimo reguliavimą.


Kartu su įrenginiu pateikiami keturi (4) oro srauto matavimo vamzdeliai. Jie gali būti įstatyti į ortakius, kad palengvintų vėdinimo reguliavimą.

