Asennus kattoon
Vallox ilmanvaihtokone on asennettava paikkaan, jonka lämpötila ei laske alle +10 °C. Ilman kotelointia kone tulee sijoittaa paikkaan, missä sen käyntiääni ei häiritse (varasto, tekninen tila, alas laskettu katto tms.)
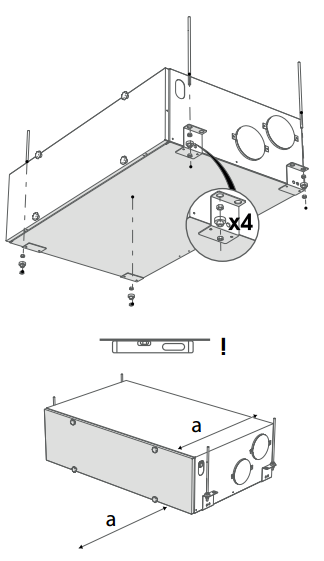
Vallox TSK Multi 50 MV asennetaan kattoon. Kiinnitä ilmanvaihtokone kattoon koneen mukana tulevilla kiinnityskoukuilla (4 kpl). Ota konetta kiinnittäessäsi huomioon koneen paino (45 kg).

TÄRKEÄÄ:
Asenna kone vaakasuoraan niin, että pohja-altaaseen kertyvä kondenssivesi valuu kondenssiyhteeseen.
HUOMAA:
Varaa asentaessa koneen eteen koneen syvyyden verran tilaa, jotta huolto on mahdollista.
Vallox TSK Multi 50 MV huollon vaatima tila koneen edessä on vähintään 530 mm.
HUOMAA:
Asenna ilmanvaihtokone paikkaan, jossa lämpötila ei laske alle + 10 °C.
HUOMAA:
Ulkoilmakanava koneeseen ja jäteilmakanava ulos tulee eristää koko matkalta umpisolueristeellä.
