Måling og justering af ventilationsaggregatets luftstrømme
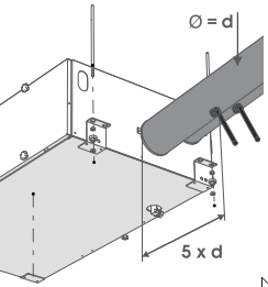
Tilbehøret, der leveres sammen med aggregatet, indeholder fire (4) luftstrøms-målerør. Disse kan indsættes i kanalerne for at lette ventilationsjusteringen.


Tilbehøret, der leveres sammen med aggregatet, indeholder fire (4) luftstrøms-målerør. Disse kan indsættes i kanalerne for at lette ventilationsjusteringen.

